上海恒商精密仪器有限公司专业选型指导售后全程护航
产品中心

不止是卖仪器,更是您的实验室伙伴

产品中心

HCP421V-PM

微型变温探针台
HCP421V-PM

产品简介:

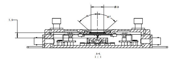
HCP421V-PM可单独使用,也可搭配显微镜/光谱仪使用,其可在 -190℃ ~ 400℃ 范围内控温,同时允许探针电测试、光学观察和样品气体环境控制,探针台上盖与底壳构成一个可抽真空的密封腔,亦可内充入氮气等保护气体,来防止样品在负温下结霜,或高温下氧化,可升级特殊场景拓展能力非磁性改造选项‌台体可改用非磁性材料,支持‌变温霍尔效应测试‌(如磁性半导体材料研究)‌
产品咨询

功能特点

HCP421V-PM
迷你温控探针台,可用于显微镜/光谱仪
宽温域、高精度、多参数原位同步测量、环境可控性及自动化扩展能力,使其成为材料科学与半导体工业的核心分析工具
-190℃~400℃ 可编程控温(负温需配液氮制冷系统)
配置吹气除霜管路,保障低温光学观察清晰度‌
负温段需配置液氮制冷系统,高温段采用PID控温算法保障稳定性‌
探针接口BNC或SMA四探针,可选六探针 *可选三同轴接口,用于pA级测试
可抽真空的腔体,亦可充入保护气体使用
可选增设腔内接线柱(样品接电引线)
提供软件SDK,支持温控器或PC端编程控制,适配自动化测试流程‌
可做定制或改动,详询上海恒商

温控参数

温度范围-190℃~400℃
传感器/温控方式100Ω铂RTD / PID控制(含LVDC降噪电源)
加热/制冷速度+0.01℃/min ~ +30℃/min 
温度显示分辨率0.001℃
温度稳定性±0.05℃(>25℃),±0.1℃(<25℃)
软件功能可设温控速率,可设温控程序,可记录温控曲线
加热区/样品区

Φ26mm

适用光路反射(可选择透射/反射兼容)
探针
铼钨材质(可选 镀金 铍铜)

探针座

杠杆式探针支架,点针力度更大,电接触性更好

点针手动点针,每个探针座都可点到样品区上任意位置
探针接口

BNC或SMA*可选三同轴接口用于pA级测试 *可增设腔内接线柱(样品接电引线

样品台面电位电接地*可选电悬空(作背电极)*可选三同轴接口


立即咨询,获取专属定制方案